| Computers, Materials & Continua DOI:10.32604/cmc.2021.016436 | ![]() |
| Article |
Transmission Control under Multi-Service Disciplines in Wireless Sensor Networks
1School of Computer and Communication Engineering, University of Science and Technology Beijing, Beijing, 100083, China
2Department of Electronics and Communication Engineering, Beijing Electronics Science and Technology Institute, Beijing, 100070, China
3Department of Management, University of Bejaia, Bejaia, 06000, Algeria
*Corresponding Author: Chao Guo. Email: guo99chao@163.com
Received: 02 January 2021; Accepted: 18 February 2021
Abstract: The wireless sensor network (WSN), as the terminal data acquisition system of the 5G network, has attracted attention due to advantages such as low cost and easy deployment. Its development is mainly restricted by energy. The traditional transmission control scheme is not suitable for WSNs due to the significant information interaction. A switchable transmission control scheme for WSNs based on a queuing game (SQGTC) is proposed to improve network performance. Considering that sensor nodes compete for the resources of sink nodes to realize data transmission, the competitive relationship between nodes is described from the perspective of a game. Different types of sensor node requests require a sink node to provide different service disciplines. Mathematical models of social welfare are established for a sink node under the service disciplines of first-come, first-served (FCFS), egalitarian processor sharing (EPS), and shortest service first (SSF). The optimal service strategies are obtained by maximizing social welfare. The sensor nodes provide the expected benefits and satisfy the service requirements of the requests, and the sink node switches the transmission control strategy for the service. Simulation results show that the proposed scheme improves the data transmission efficiency of WSNs and achieves the optimal allocation of resources.
Keywords: WSNs; transmission control; queuing game; service disciplines
With the rapid development of internet technology, the internet of everything has become an important feature of 5G networks [1]. Technologies such as cloud and edge computing have promoted the development of the internet of things [2,3]. Wireless sensor networks (WSNs) can be deployed in a variety of complex geographic environments, connecting the physical world with the internet through information acquisition and monitoring [4,5]. However, the development of communication technology brings about a dramatic expansion of network scale, which greatly increases the data demand of WSNs. Network congestion will occur when the data requests of sensor nodes exceed the service capacity of a sink node, and sudden data requests, dynamic changes in a network, or failures of WSN devices may cause network congestion, which can cause network performance to deteriorate rapidly, and even lead to network paralysis, which seriously affects service quality and network performance. Transmission control protocol (TCP) is usually used to alleviate and avoid congestion [6,7]. However, due to the limited energy and unstable network state of WSNs, it is difficult to achieve the network goal of high efficiency and low energy consumption using TCP. Therefore, a novel transmission control scheme for WSNs is necessary to improve overall network performance.
To avoid performance degradation caused by network congestion, appropriate transmission control technology is adopted in different networks [8,9]. In WSNs, nodes are usually small in size, simple in function, limited in energy, and difficult to repair after failure. Given these characteristics, traffic-based, resource-based, and hybrid transmission control schemes have been proposed to improve the information transmission rate of WSNs based on traditional TCP [10–12]. The traffic-based transmission control scheme considers the distribution of traffic in WSNs, dispersing overly concentrated traffic to low-load nodes to reduce network congestion. The resource-based transmission control scheme focuses on bandwidth, storage space, and residual energy of WSNs. The data flow is directed to nodes with sufficient resources to optimize the allocation of network resources. The hybrid transmission control scheme combines the two schemes to plan network data transmission from a global perspective, making full use of WSN network resources while reducing the excessive traffic load of nodes. The limited resources of WSNs lead to competition among nodes. To realize the global optimization of the data transmission system, a game model can be established so as to choose whether a node will join a service queue. The optimal transmission control scheme is determined through a Nash equilibrium.
This paper proposes a switchable transmission control scheme for WSNs based on a queuing game (SQGTC). The game’s three key elements are competition among nodes, strategies adopted, and influence on social welfare. The requests of nodes waiting for service in the sink node follow queuing theory. To distinguish different types of requests from sensor nodes, the sink node uses the service disciplines of first-come, first-served (FCFS), egalitarian processor sharing (EPS), and shortest service first (SSF), under which system models are established. The social welfare function of the system is constructed according to a node’s service demand, expected benefit, and waiting cost. SQGTC realizes the optimization of transmission control and resource allocation through the algorithm design of solving the optimal strategy under the three service disciplines. The main contributions can be summarized as follows.
• Queuing game theory is introduced to the SQGTC scheme, and a transmission control unit is established. By solving the Nash equilibrium solution of the game model under the FCFS, EPS, and SSF service disciplines, the optimal transmission control strategy of the system is obtained.
• The service time and service value required by sensor node requests are defined as random variables to describe the request types of different demands and their importance in the network. When system parameters are consistent, if the sink node switches to the SSF service discipline, then the system will achieve the maximum social welfare.
The rest of this paper is organized as follows. The related work of transmission control schemes for WSNs is presented in Section 2. The system model and problem formulation are described in Section 3. In Section 4, the SQGTC scheme is proposed. Section 5 deals with simulation and comparison results, followed by conclusions in Section 6.
WSNs have always been a focus of research due to their extensive application scenarios. Their performance largely depends on the effect of data transmission and resource optimization schemes. Data transmission methods in WSNs have been studied from the perspective of data analysis [13–16]. Considering resource constraints, congestion control schemes in WSNs have been analyzed and improved [10,17,18]. The resource allocation scheme of edge computing has also provided a reference for the transmission control of WSNs to some extent [19]. In recent years, game theory has been applied to the design of data collection and routing schemes in WSNs, with good results [20,21].
Considering the conflicts of mass data transmission in the dense deployment of marginal WSNs, a reliable multi-path transmission approach was proposed [13]. It adopted a redundancy mechanism and concurrent woven multi-path technology to reduce transmission delay and improve the network lifetime. However, while the redundancy mechanism improved reliability, it reduced the efficiency of data transmission. From the perspective of eliminating redundancy, appropriate information was mined in the collected data for forwarding [14]. A strategy to eliminate data redundancy was proposed to improve the data transmission efficiency of WSNs, but this was limited to improving network performance. Congestion control schemes in WSNs consist of flow-based, resource-based, and hybrid schemes [10]. It was concluded that a single metric was unable to accurately detect congestion. A tradeoff mechanism was proposed to determine the optimal congestion control mechanism and applicable scenarios.
Adding the idea of the game, two data collection schemes of multi-mobile sink nodes were proposed [20]. They sent data directly and via a static gateway, in response to the imbalance of energy consumption caused by multi-hop communication. Cooperative game theory with non-transferable utility was used to model the system to maximize the network lifetime and data collection. The mobile sinks cooperatively selected their strategies by solving the system model. WSN nodes tended to choose the desired route for data forwarding to save energy under limited energy resources [21]. This resulted in higher latency and additional packet collisions. A replicator dynamics mechanism was proposed for sensor path selection by modeling the routing problem as an evolutionary anti-coordination game. Both schemes adopted game theory to model the data transmission problem in WSNs. Not only considering the influence of single or limited indicators on network performance, they started from the existing problems of the network, designing a dynamic comprehensive approach to improve network performance. However, the energy constraints of multiple mobile sink nodes can cause WSN failure due to premature exhaustion of energy. The information interaction and strategy modification of the replication dynamic mechanism caused excessive computation and redundant information.
This paper analyzes the competition of sensor nodes for service resources of sink nodes from a game theory perspective. The data transmission problem in WSNs is modeled as a queuing game under multiple service disciplines, and the Nash equilibrium of each service discipline is derived. To describe the differences between node requests, the service time of a request is defined as a continuous random variable. According to different service requirements requested by sensor nodes, the sink node switches the service disciplines and provides the optimal transmission control strategy to maximize the social welfare of the system.
3 System Model and Problem Formulation
Multiple wireless sensor nodes and sink nodes are deployed in the WSN target region, as shown in Fig. 1. Network equipment wirelessly connects sensor nodes, sensor nodes and sink nodes, sink nodes and internet/5G/WAN, and other external networks. A single sink node and multiple sensor nodes form a transmission control unit (TCU). We focus on the design of a transmission control scheme, which is suitable for TCU for WSNs to improve the efficiency of data transmission and simplify the process of information interaction. In the TCU, n wireless sensor nodes are directly connected to the sink node. The request arrival rate of each wireless sensor node to the sink node is assumed to obey a Poisson distribution, and

Figure 1: Data transmission system model of wireless sensor networks (WSNs)
Previous transmission control schemes of WSNs usually arranged data transmission by detecting the change of traffic distribution or resource use in the network. These schemes could grasp the network status in real time and control the data transmission flow. However, their high demand for network detection information leads to a sharp increase in additional information interaction as the network size grows. This affects the efficiency of network data transmission. To improve upon this, based on the dynamic performance of WSNs, queuing game theory was used to model a data transmission system [22]. The number of interactions between nodes was decreased from four to three, as shown in Fig. 2. When the network state changes, the network parameters are updated. In previous schemes, WS initiated the request, and SK returned status information and a congestion window (CWND). After receiving CWND, WS sends data, and SK returns ACK. There are four interactions. In the proposed SQGTC scheme, SK publishes the service time thresholds t* of disciplines. WS selects a service discipline according to service requirements. When the service requirement service time is less than the service time threshold of SK, WS sends data. Finally, SK returns ACK. There are three interactions.

Figure 2: Number of interactions between nodes
The limited resources of aggregation nodes (such as data processing bandwidth and storage resources) in sensor networks will lead to competition among sensor nodes. The idea of a queuing game is introduced to the data transmission system of WSNs to find the optimal strategy from the perspective of global optimization. The players in the game are sensor nodes and the sink node. The strategy is whether the sensor node requests to join the queue of the sink node. The effect function is the system welfare obtained by the sink node after it satisfies the request of the sensor node. Each sensor node request has an expected service value R, which represents the benefit the sensor node will receive after the request is serviced. Each request has a service time rst, which is a random variable with a distribution
where W is the expected waiting time.
Since the services of the sink node follow a general distribution, the queuing system of the TCU is assumed to be M/G/1. The FCFS, EPS, and SSF service disciplines have different characteristics. In the FCFS discipline, sensor requests are queued according to the order in which they arrive at the sink node, and the first to arrive gets the service first. In the queuing game, a new join request at the end of the FCFS queue will have a negative impact on future join requests, resulting in the value of the individual optimal solution being larger than the global optimal solution. This effect can be eliminated through an admission fee. In the EPS discipline, when multiple requests share a common resource, the individual benefit decreases with the increase of the number of participants and demand. The SSF discipline assumes that the sink node knows the service time of sensor node requests, and the sink node gives priority to servicing the request with the shortest service time. The overall problem can be expressed as solving the threshold service time of each of the three service disciplines to obtain the optimal strategy of the system.
4 Transmission Control Strategies for Three Service Disciplines
The SQGTC scheme assumes that the service time of a sensor node is private information. To describe the diversified development trend of WSN data transmission and the values generated by different data, the service time and service value of a request are defined as continuous random variables. To simplify the problem, assume that the two random variables are normally distributed, as follows. The distribution of variables can be modified and optimized according to the situation.
Definition 1: The service time RST of a sensor node request is a normally distributed random variable with mean
Definition 2: The service value R of a sensor node request is a normally distributed random variable with mean
When
and the effective utilization factor can be expressed as
Then, by maximizing the social benefits of the system under different service disciplines, the possible optimal strategies are solved.
4.1 Problem-Solving for FCFS, EPS, and SSF Service Disciplines
Since the queuing model of a single TCU is M/G/1, for the FCFS discipline, the Khintchine-Pollaczek (K-P) formula [23] can be applied to calculate the expected queuing time of a joining request,
From Eq. (1), the social welfare
We maximize
Therefore, the maximum social welfare of the system under the FCFS service discipline can be expressed as a function related to the service value R,
When the sink node service discipline is EPS, the K-P formula is no longer applicable. According to Eq. (5), it can be concluded that under the EPS service discipline, the expected queuing time of sensor node requests with service time RST [24] is
Based on queuing theory, the expected number of requests to join the system is
From Eq. (1), the social welfare of the system under the FCFS service discipline is
We maximize
Therefore, the maximum social welfare
According to Eq. (5), it can be concluded that under the SSF service discipline [25], the expected queuing time
Among them, there is a unique social optimal threshold
From Eqs. (15) and (16), this is given by
Therefore, the maximum social welfare of the system under the SSF service discipline can be expressed as a function related to the service value R,
If the sensor node request does not specify the required service disciplines, the service disciplines of the sink node are determined by comparing the relationship between the maximum social welfare of the system under the three service disciplines with different service values.
4.2 Realization of the SQGTC Scheme
Under different service disciplines, the data transmission strategy of a sensor node request is obtained by solving the Nash equilibrium of each queuing game system model. When the service time of the sensor node request
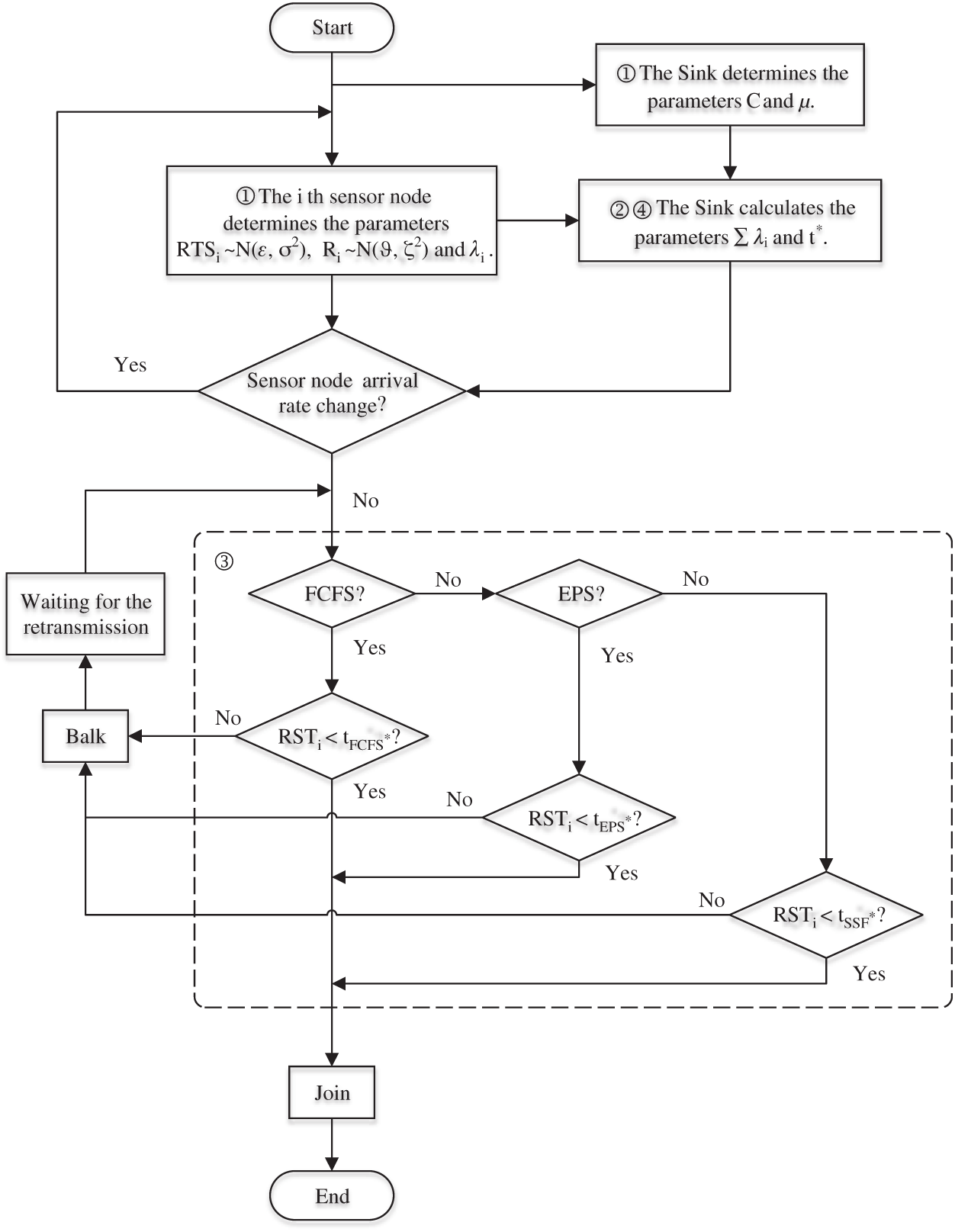
Step 1. Parameter initialization.
The sensor node i assigns a value RSTi and Ri for the service time and value according to the request type and demand received, following the normal distribution,
Step 2. The sink node determines the released information.
According to the comprehensive arrival rate
Step 3. Determine whether to join the queue.
According to the information released by the sink node, the service disciplines required by the sensor node request are determined. When the FCFS discipline is required, we compare the values of RSTi and
Step 4. Status update of controller.
Once the arrival rate changes due to a new addition, exit, or failure of sensors, the sink node will recalculate the parameters

Figure 3: Flow of the switchable transmission control scheme based on a queuing game (SQGTC)
After the input parameters of the system are initialized, the comprehensive arrival rate of sensor node requests to the sink node is calculated. The values of

Performance verification of the SQGTC scheme included numerical simulation in MATLAB and system simulation in OMNeT. After the numerical simulation parameters were given, the main parameters generated by the SQGTC scheme were displayed, and the results compared and analyzed. The results of numerical simulation were introduced to the system simulation environment, and the wireless sensor network model of a multi-sensor node and single sink node was constructed. To compare the effect of the SQGTC scheme, a non-cooperative game theory-based congestion control (NGTCC) scheme was selected [26]. The changes of network performance index, throughput, and delay after the same period of network operation were analyzed.
In queuing game theory, parameters such as the expected benefit R of sensor node requests and the waiting cost C of the sink node are usually abstract relative values. Combined with the actual situation and requirements of WSNs, this paper endows these parameters with physical meanings and sets corresponding values. The expected net benefit of a request is related to the amount of data requested and the importance of the data. Assume that requests have either high, medium, or low importance, with associated factors of 1.2, 1, and 0.8, respectively. R is defined as the product of the amount of data in KB and the importance factor. The waiting cost is related to the queue space and energy consumed by the request. Assume that the proportion of queue space is the ratio of the amount of data to the queue length. C is defined as the proportion of the queue space multiplied by the energy consumed per unit time. The parameters of the SQGTC scheme are described in Tab. 1.
Table 1: Parameter specifications of SQGTC scheme

According to Eqs. (8) and (13), the optimal threshold service times

Figure 4: Social welfare with service time under first-come, first-served (FCFS) and egalitarian processor sharing (EPS) service disciplines
The social welfare
Under the condition of Eq. (17), the optimal service time threshold

Figure 5: Expected queuing time with service time under shortest service first (SSF) service discipline
The optimal service time thresholds under the three service disciplines were substituted in the social welfare. The variation trend of the maximum social welfare

Figure 6: Maximum social welfare with service value under three service disciplines
The WSNs environment was set up in OMNeT, and the influences of the SQGTC scheme and NGTCC scheme on system performance were analyzed by comparing the end-to-end average delay and throughput of the system. As shown in Fig. 7, compared with the NGTCC scheme, the end-to-end delay of the system under the SQGTC Scheme grew slowly and was stable at a low level.

Figure 7: End-to-end delay of the system
From Fig. 8, the system throughput under the SQGTC Scheme was higher than under the NGTCC scheme. The SQGTC Scheme controls whether sensor node requests in WSNs join the sink node through the service time threshold. According to the theoretical optimal strategy obtained by the system, the transmission control scheme is designed to realize the optimization of network performance in the system model of switchable multi-service discipline.

Figure 8: System throughput
WSNs play an important role in raw data acquisition and aggregation, environmental monitoring, and specific area network distribution. Due to the limited energy of wireless sensors, all technologies applied in WSNs need to be lightweight and energy-efficient. If network congestion occurs, it will lead to a sharp decline in WSN network performance and consume much energy, eventually causing a reduction in the life of WSNs. This paper focused on the data transmission control scheme between a multi-sensor node and single sink node in WSNs. A transmission control scheme based on switching service disciplines according to the requirements of sensor nodes was proposed to improve the network transmission performance. Queuing game theory was introduced to the SQGTC scheme to model TCU. Then the optimal transmission control strategy of the system was obtained by solving the Nash equilibrium solution of the game model under the FCFS, EPS, and SSF service disciplines. The service time and service value required by the sensor node request were defined as random variables to describe the request types of different demands and importance in the network. When the system parameters are consistent, if the sink node switches to the SSF service discipline, the system will achieve the maximum social welfare. Simulation results showed that the SQGTC scheme improves the data transmission efficiency of WSNs and reduces the probability of network congestion.
In future work, we will consider the priority of sensor nodes’ data transmission tasks, so as to reduce the overall energy cost of the network and improve the efficiency of network transmission.
Acknowledgement: We gratefully acknowledge the anonymous reviewers who read drafts and made many helpful suggestions.
Funding Statement: This work was supported by the Fundamental Research Funds for the Central Universities (Grant. No. FRF-BD-20-11A), C. G. (Cheng Gong), the Scientific and Technological Innovation Foundation of Shunde Graduate School, C. G. (Cheng Gong), USTB (Grant No. BK19AF005), and the Industry University Research Cooperation Project No. 39110067, C. G. (Cheng Gong).
Conflicts of Interest: The authors declare that they have no conflicts of interest to report regarding the present study.
1. P. Schulz, M. Matthe, H. Klessig, M. Simsek, G. Fettweis et al., “Latency critical IoT applications in 5G: Perspective on the design of radio interface and network architecture,” IEEE Communications Magazine, vol. 55, no. 2, pp. 70–78, 2017. [Google Scholar]
2. H. Hui, C. Zhou, S. Xu and F. Lin, “A novel secure data transmission scheme in industrial internet of things,” China Communications, vol. 17, no. 1, pp. 73–88, 2020. [Google Scholar]
3. C. Gong, F. Lin, X. Gong and Y. Lu, “Intelligent cooperative edge computing in internet of things,” IEEE Internet of Things Journal, vol. 7, no. 10, pp. 9372–9382, 2020. [Google Scholar]
4. M. Kaddi, K. Benahmed and M. Omari, “An energy-efficient protocol using an objective function & random search with jumps for WSN,” Computers, Materials & Continua, vol. 58, no. 3, pp. 603–624, 2019. [Google Scholar]
5. H. Mostafaei, M. U. Chowdhury and M. S. Obaidat, “Border surveillance with WSN systems in a distributed manner,” IEEE Systems, vol. 12, no. 4, pp. 3703–3712, 2018. [Google Scholar]
6. T. Xu, M. Zhao, X. Yao and K. He, “An adjust duty cycle method for optimized congestion avoidance and reducing delay for wsns,” Computers, Materials & Continua, vol. 65, no. 2, pp. 1605–1624, 2020. [Google Scholar]
7. H. Parsavand and A. Ghaffari, “Controlling congestion in wireless sensor networks through imperialist competitive algorithm,” Wireless Personal Communications, vol. 101, no. 2, pp. 1123–1142, 2018. [Google Scholar]
8. U. Tariq and A. Aldaej, “Outlook of coordinated transmission control in 5G Networks for IoTs,” International Journal of Computers Communications & Control, vol. 13, no. 2, pp. 280–293, 2018. [Google Scholar]
9. W. Wang, X. Wang and D. Wang, “Handover optimisation for multipath transmission control protocol-based concurrent multipath transfer in heterogeneous networks,” Electronics Letters, vol. 55, no. 12, pp. 715–716, 2019. [Google Scholar]
10. M. A. Jan, S. R. U. Jan, M. Alam, A. Akhunzada and L. U. Rahman, “A comprehensive analysis of congestion control protocols in wireless sensor networks,” Mobile Networks and Applications, vol. 23, no. 3, pp. 456–468, 2018. [Google Scholar]
11. D. Fernandes, A. G. Ferreira, R. Abrishambaf, J. Mendes and J. Cabral, “A low traffic overhead transmission power control for wireless body area networks,” IEEE Sensors Journal, vol. 18, no. 3, pp. 1301–1313, 2018. [Google Scholar]
12. C. Stais and G. Xylomenos, “Error and congestion control for wireless sensor networks,” International Journal of Communication Systems, vol. 32, no. 4, pp. 3883–3899, 2019. [Google Scholar]
13. D. G. Zhang, H. Wu, P. Zhao, X. Liu, Y. Gui et al., “New approach of multi-path reliable transmission for marginal wireless sensor network,” Wireless Networks, vol. 26, no. 2, pp. 1503–1517, 2020. [Google Scholar]
14. S. Kumar and V. K. Chaurasiya, “A strategy for elimination of data redundancy in internet of things (IoT) based wireless sensor network (WSN),” IEEE Systems Journal, vol. 13, no. 2, pp. 1650–1657, 2018. [Google Scholar]
15. D. Qin, P. Ji, S. Yang and T. M. Berhane, “An efficient data collection and load balance algorithm in wireless sensor networks,” Wireless Networks, vol. 25, no. 7, pp. 3703–3714, 2019. [Google Scholar]
16. S. Kumar and J. T. Thirukrishna, “An efficient QoS based data packet transmission in wireless sensor networks using OREA,” Wireless Personal Communications, vol. 113, no. 4, pp. 1839–1850, 2020. [Google Scholar]
17. X. Yang, X. Chen, R. Xia and Z. Qian, “Wireless sensor network congestion control based on standard particle swarm optimization and single neuron PID,” Sensors, vol. 18, no. 4, pp. 1265–1282, 2018. [Google Scholar]
18. K. Singh, K. Singh, L. H. Son and A. Aziz, “Congestion control in wireless sensor networks by hybrid multi-objective optimization algorithm,” Computer Networks, vol. 138, no. 8, pp. 90–107, 2018. [Google Scholar]
19. L. Zhang, H. Zhang, L. Yu, H. Xu, L. Song et al., “Virtual resource allocation for mobile edge computing: A hypergraph matching approach,” in Proc. 2019 IEEE Global Communications Conf., Waikoloa, HI, USA, pp. 1–6, 2019. [Google Scholar]
20. I. Koley and T. Samanta, “Mobile sink based data collection for energy efficient coordination in wireless sensor network using cooperative game model,” Telecommunication Systems, vol. 71, no. 3, pp. 377–396, 2018. [Google Scholar]
21. A. Attiah, M. F. Amjad, M. Chatterjee and C. Zou, “An evolutionary routing game for energy balance in wireless sensor networks,” Computer Networks, vol. 138, no. 7, pp. 31–43, 2018. [Google Scholar]
22. R. Hassin and M. Haviv, To Queue or Not to Queue: Equilibrium Behavior in Queueing Systems, Boston, Dordrecht, London: Kluwer Academic Publishers, 2003. [Google Scholar]
23. G. Jain and K. Sigman, “A Pollaczek–Khintchine formula for M/G/1 queues with disasters,” Journal of Applied Probability, vol. 33, no. 4, pp. 1191–1200, 1996. [Google Scholar]
24. M. Haviv, “Stable strategies for processor sharing systems,” European Journal of Operational Research, vol. 52, no. 1, pp. 103–106, 1991. [Google Scholar]
25. L. Kleinrock, Queueing Systems, Vol. II. Computer Applications, New York: John Wiley & Sons, 1976. [Google Scholar]
26. S. Chowdhury and C. Giri, “Non-cooperative game theory based congestion control in lossy WSN,” in Proc. 2018 IEEE Global Communications Conf., Abu Dhabi, United Arab Emirates, United Arab Emirates, pp. 1–7, 2018. [Google Scholar]
![]() | This work is licensed under a Creative Commons Attribution 4.0 International License, which permits unrestricted use, distribution, and reproduction in any medium, provided the original work is properly cited. |