| Computers, Materials & Continua DOI:10.32604/cmc.2021.017360 | ![]() |
| Article |
LOA-RPL: Novel Energy-Efficient Routing Protocol for the Internet of Things Using Lion Optimization Algorithm to Maximize Network Lifetime
1Department of Computer Science Engineering, Sona College of Technology, Salem, 636005, India
2VNR Vignana Jyothi Institute of Engineering & Technology, Hyderabad, 500090, India
3Graduate School, Duy Tan University, Da Nang, Vietnam, 550000, Vietnam
4Faculty of Information Technology, Duy Tan University, Da Nang, Vietnam, 550000, Vietnam
5Department of Computer Science and Engineering, Soonchunhyang University, Asan, 31538, Korea
6Department of Mathematics, Faculty of Science, Mansoura University, Mansoura, 35516, Egypt
7Department of Electrical and Computer Engineering, Michigan State University, East Lansing, MI, 48824, USA
**Corresponding Author: Yunyoung Nam. Email: ynam@sch.ac.kr
Received: 28 January 2021; Accepted: 13 March 2021
Abstract: Energy conservation is a significant task in the Internet of Things (IoT) because IoT involves highly resource-constrained devices. Clustering is an effective technique for saving energy by reducing duplicate data. In a clustering protocol, the selection of a cluster head (CH) plays a key role in prolonging the lifetime of a network. However, most cluster-based protocols, including routing protocols for low-power and lossy networks (RPLs), have used fuzzy logic and probabilistic approaches to select the CH node. Consequently, early battery depletion is produced near the sink. To overcome this issue, a lion optimization algorithm (LOA) for selecting CH in RPL is proposed in this study. LOA-RPL comprises three processes: cluster formation, CH selection, and route establishment. A cluster is formed using the Euclidean distance. CH selection is performed using LOA. Route establishment is implemented using residual energy information. An extensive simulation is conducted in the network simulator ns-3 on various parameters, such as network lifetime, power consumption, packet delivery ratio (PDR), and throughput. The performance of LOA-RPL is also compared with those of RPL, fuzzy rule-based energy-efficient clustering and immune-inspired routing (FEEC-IIR), and the routing scheme for IoT that uses shuffled frog-leaping optimization algorithm (RISA-RPL). The performance evaluation metrics used in this study are network lifetime, power consumption, PDR, and throughput. The proposed LOA-RPL increases network lifetime by 20% and PDR by 5%–10% compared with RPL, FEEC-IIR, and RISA-RPL. LOA-RPL is also highly energy-efficient compared with other similar routing protocols.
Keywords: Internet of things; cluster head; clustering protocol; optimization algorithm; lion optimization algorithm; network lifetime; routing protocol; wireless sensor networks; energy consumption; low-power and lossy networks
The Internet of Things (IoT) is an emerging field of research that integrates physical objects and the Internet [1–7]. IoT aims to establish communication between objects without human involvement. In accordance with Gartner's report, 31 billion IoT devices were connected to the Internet in 2020. Moreover, nearly 75 billion devices are estimated to be connected to the Internet by 2025 [8]. IoT applications include healthcare, target tracking, smart cities, home security, smart farming, home intrusion detection, elderly monitoring, driverless connected cars, remote patient monitoring, vaccine cold chain monitoring, contact tracing systems for infectious diseases, and smart parking systems [9–13]. IoT devices are involved in our daily life to help human society. However, IoT faces many challenges because IoT devices exhibit low power, small memory, and low processing capability [14–17].
A low-power and lossy network (LLN) is an IoT network that contains thousands of Internet-connected devices. It is used in various applications, such as smart metering, building automation, and smart grids. To fulfill the requirements of LLN, a novel communication method for transferring data from one place to another must be developed [17–20]. Routing plays a significant role in forwarding data. To overcome this limitation, the Internet Engineering Task Force (IETF) has standardized the routing protocol for LLNs (RPL).
RPL is specially designed for resource-constrained devices to support various LLN applications. It constructs a destination-oriented directed acyclic graph (DODAG) based on node and link information in the network. DODAG consists of a low-power border router (LBR) and low-power end devices (LEDs). LBR and LEDs support bidirectional communication. Route establishment in RPL is realized on the basis of messages, namely, DODAG advertisement object (DAO), DAO-acknowledgment, and DODAG information object (DIO). The objective function (OF) is a necessary function used in DODAG to select the optimal parent node from the list of parents [21–23].
In general, RPL adopts different parent selection criteria, namely, single, composite, and fuzzy logic-based routing metrics. RPL based on single routing metrics [24,25], including expected transmission count (ETX), hop count, remaining energy, and node degree, is unable to fulfill the requirements of the entire network. To overcome this limitation, composite routing metric-based RPL was introduced to fulfill network requirements in [26–29]. RPL supports minimization, e.g., load and ETX, or maximization, e.g., residual energy (RER) and number of neighbors, properties during parent selection. It also partially fulfills the requirement of a network. Accordingly, recent studies have focused on fuzzy logic-based route selection in LLNs [30,31].
In some IoT applications, nodes are positioned randomly in the network. RPL routers produce replicated data and forward them to the root of DODAG, draining the energy close to the DODAG's root. A clustering technique is proposed to minimize the duplicate transmission of data across a network to avoid this problem. A clustering protocol consists of the creation of a virtual cluster, the selection of a cluster head (CH), and the establishment of a route in LLN. Thus, the life span of a network can be prolonged [32–35]. However, the traditional CH selection method is unsuitable for RPL. Accordingly, the current study focuses on an optimization algorithm that can select the best CH node in a cluster.
The optimization algorithm is a sequence of procedures for obtaining the optimum solution until iterative execution is carried out [36–39]. Optimization algorithms are extremely common in engineering fields because they are simple to understand, design, and implement. In network domains, optimization algorithms are mostly used for CH selection and node localization. Thus, we can prolong network lifetime in IoT.
The primary objective of this study is to propose a lion optimization algorithm (LOA) for CH selection in RPL. LOA-RPL consists of cluster formation, CH selection, and route establishment. A cluster is created using the Euclidean distance. CH selection is performed using LOA. Lastly, RER is used to establish a route. Thus, LOA-RPL prolongs the life span of a network.
The key contributions of this study are as follows.
• An in-depth analysis of the literature on various energy-aware RPLs and CH selection methods that use an optimization algorithm proposed by various researchers to improve the performance of an IoT network in terms of power consumption, network lifetime, packet delivery ratio (PDR), and throughput.
• An analysis of various optimization algorithms for selecting CH nodes to enhance network performance.
• The design and development of a novel energy-efficient routing protocol for IoT by using LOA to increase network lifetime, PDR, and throughput.
• The simulation results of LOA-RPL are compared and validated with those of recently developed and similar popular routing protocols, namely, RPL, fuzzy rule-based energy-efficient clustering and immune-inspired routing (FEEC-IIR), and the routing scheme for IoT that uses shuffled frog-leaping optimization algorithm (RISA-RPL), by using the Cooja simulator.
The remainder of this paper is organized as follows. Section 2 discusses the recent literature on energy-aware RPL and various optimization algorithms for selecting CH nodes. Section 3 describes the details of the network and energy models in LOA-RPL. Section 4 presents the proposed LOA-RPL. Section 5 provides the results and findings. Section 6 concludes this study and sets out the future scope of LOA-RPL.
This section discusses recent studies on energy-aware RPL and CH selection methods that use optimization algorithms.
Fatemeh et al. [40] proposed priority-based energy-aware RPL (PriNergy-RPL) for IoT to extend the life span of a network. PriNergy-RPL adopts a priority scheduling and energy-efficient technique to minimize the utilization of energy in LLNs. The routing protocol uses different timing slots to send data (audio, video, and images) to the root of DODAG. In this manner, PriNergy-RPL provides robustness between participant and destination nodes. PriNergy-RPL reduces energy consumption by 10%. It also decreases latency and energy utilization more than quality-of-service RPL. However, the congestion rate is increased with respect to network nodes.
Conti et al. [41] proposed a new Objective Function (OF) for efficient routing (OF-ER) in RPL (ER-RPL). This protocol introduces a routing metric, namely, efficient composite routing, which explores link quality, queue size, network lifetime, and number of depleted nodes near parent selection participants. The efficiency of ER-RPL was compared with that of the default RPL. ER-RPL exhibits efficacy by utilizing the life span, reliability, and stability of a network. However, it increases communication overhead in some cases.
Maha et al. [42] suggested an Energy-efficient and Mobility-Aware RPL (EMA-RPL) for IoT. In general, RPL is designed only for static LLNs. In recent years, the needs of people have changed and included the mobility scenario. In such scenario, prolonging the life span of a network is a significant task in IoT. EMA-RPL incorporates enhanced mobility detection into the default RPL. It solves the handoff issue and exhibits more efficient performance than the default RPL. PDR is increased by 15% and 27% in EMA-RPL compared with those in RPL and mobility-compliant RPL, respectively. Moreover, EMA-RPL extends the life span of the network. However, handover delay is not considered during route establishment.
Bouzebiba et al. [43] proposed free bandwidth (FreeBW)-RPL, which is an enhanced version of the default RPL that is suitable for multimedia IoT. FreeBW-RPL presents a new OF (i.e., OF-FreeBW) that considers bandwidth in the network layer, and thus, this protocol provides quality of service. A simulation was conducted, and the efficacy of FreeBW-RPL was compared with that of the default RPL. FreeBW-RPL exhibited superior performance in terms of latency and power consumption. In addition, PDR in FreeBW-RPL was increased by 10%–15% compared with those in ETX-RPL and E-RPL. However, this protocol only considers bandwidth during route establishment.
Sebastian et al. [44] proposed the load-balancing routing protocol (lb-RPL). The default RPL supports fast network setup and scalability. However, it suffers from the load imbalance problem, generating data traffic during data transmission. To address these limitations, a load balancing routing metric has been proposed. Besides, lb-RPL is considered the metrics, including ETX and RER in RPL, to select the best parent to forward the data. Traffic overhead in lb-RPL was decreased by 8% compared to similar routing protocols in ETX-RPL and RPL. However, the control message overhead problem could not be resolved by lb-RPL.
Zhao et al. [45] proposed a hybrid energy-efficient cluster routing (HEC-RPL) for LLNs. HEC-RPL consists of five processes for extending the lifetime of a network. First, the cluster parent set (CPS) method is selected to establish the route in the network. Second, an overhearing mechanism is adopted to establish coordination among nodes in a network. Third, RER is used for CPS selection. Fourth, a loss recovery scheme is adopted to avoid data loss during data transmission. Fifth, the transmission energy is fine-tuned to prolong the remaining energy in the network nodes. The performance of HEC-RPL was compared with that of the default RPL. HEC-RPL outperformed RPL in terms of network life span and delay. In addition, HEC-RPL increased PDR by 35% compared with that in RPL. However, the nodes depleted the energy early in some cases.
2.2 CH Selection by Using Optimization Algorithms
Vijayalakshmi et al. [46] proposed the tabu particle swarm optimization (tabu PSO) algorithm for selecting CH nodes to increase network life span. CH selection plays a crucial role in a clustering protocol to prolong life span. A hybrid algorithm, namely, tabu PSO, was proposed for effectively choosing CH nodes. The proposed algorithm outperformed existing routing protocols, namely, the low-energy adaptive clustering hierarchy (LEACH) and particle swarm optimization (PSO) algorithms. Tabu PSO optimizes the number of clusters created, prolonging the life span of a network. In addition, the PDR in tabu PSO was increased by 5%–10% compared with those in PSO and multihop PSO. However, tabu PSO takes a longer time to converge particles, and finding the optimal solution is challenging.
Rambabu et al. [47] proposed a hybrid artificial bee colony (HABC)–migrating birds optimization MBO algorithm for selecting the optimal CH node in wireless sensor networks (WSNs). HABC–MBO was incorporated with a mutated butterfly operation at the bee stage of artificial bee colony (ABC) algorithm. The problems of local search, global search, and convergence value of each bee within the network were reduced. HABC–MBO eliminated the overhead of the CH node during data transmission. The number of alive nodes was higher in HABC–MBO than in existing algorithms, such as Harmony Search Algorithm (HSA)–PSO–CH selection scheme (CHSS), firefly optimization cyclic redundancy (FFOCR)–CHSS, and firefly cyclic gray wolf optimization (FFCGWO)–CHSS. In addition, life span in HABC–MBO increased by 5%–8% compared with those in HSA–PSO–CHSS, FFOCR–CHSS, and FFCGWO–CHSS. However, convergence is delayed, and finding the optimal local solution in the network is difficult.
Kulkarni et al. [48] proposed penguin fuzzy-based ant colony optimization (PFACO) algorithm for CH selection in WSNs. PFACO adopts the OF that uses metrics delay, traffic, energy, lifetime, and distance. This algorithm was implemented via simulation and evaluated on MATLAB. Its efficiency was compared with those of fuzzy ant colony optimization (ACO), ACO, LEACH, and fuzzy ABC (FABC). PFACO exhibited superior performance in terms of network throughput, delay, and lifetime. Life span in PFACO was increased by 10% compared with those of fuzzy ACO, ACO, LEACH, and FABC.
John et al. [49] proposed metaheuristic optimization technique (MOT)–cuckoo optimization algorithm (COA) algorithm for CH selection in WSNs. MOT–COA uses an OF that explores network metrics, distance, remaining energy, traffic density, and delay. Simulation was performed several times, and the weight values of the OF were fine-tuned to achieve an optimum value in CH selection. Simulation was conducted in two cases. The first case included 50 nodes, and the second case included 100 nodes. The performance of MOT–COA was compared with those of PSO, LEACH, ABC, and FABC. MOT–COA demonstrated superior performance in terms of network life span and latency. In addition, MOT–COA increased network life span and throughput by 10% and 65%, respectively.
Pitchaimanickam et al. [50] proposed a hybrid fuzzy adoptive PSO (HFAPSO) algorithm for CH selection in WSNs. Clustering is an efficient technique for energy conservation. HFAPSO was used to determine the global search behavior of fireflies in network nodes. The efficiency of HFAPSO was compared with those of LEACH-centralized (LEACH-C) and firefly algorithm (FA). HFAPSO presented notable accomplishments in utilizing the remaining energy in network nodes and in the throughput and number of alive nodes. In addition, life span in HFAPSO was increased by 20%–35% compared with those in LEACH-C and FA.
Various energy-aware RPLs and CH selection methods that use optimization algorithms are discussed in the related literature. The limitations of energy-aware RPLs are network traffic and communication overhead. Network traffic occurs in many protocols, while increasing network size and node size. Communication overhead also occurs as the number of network rounds increases. To address these issues, many researchers have proposed CH selection algorithms that use optimization. The limitation of many CH selection algorithms is that they take a long time to converge and identify the best CH in the cluster. In addition, finding the optimal CH for data exchange in a cluster is difficult in some algorithms. Thus, network nodes have a short life span in IoT applications. Accordingly, the current study proposes LOA for selecting CH in RPL to solve the aforementioned problems.
In LOA-RPL, nodes are deployed randomly across the network area. The network comprises 1 DODAG root and 200 DODAG nodes. Each node represents a lion, i.e., Lions = (L1, L2, …., Ln). A cluster is initially created via the Euclidean distance. Then, LOA is used to select the CH node. The route is eventually established by considering the RER metric. The network model of LOA-RPL is shown in Fig. 1.

Figure 1: Network model of LOA-RPL
In addition, the following reasonable assumptions are considered in LOA-RPL:
• Each node acquires a unique ID after deployment.
• All nodes are energy-constrained.
• DODAG nodes exhibit equal capabilities, and all are homogenous.
• The nodes in a network are randomly distributed.
• All nodes are deployed statically and will not support mobility.
• The sink collects data from the CH, and the CH gathers data from the cluster members (CMs).
• All nodes can send data to the CH, and the CH transfers the data to the sink or the DODAG root.
Fig. 2 depicts the energy model of LOA-RPL. We also use a simplified channel model, which is either free space b2 power loss or multipath fading b4 power loss, depending on the distance between the transmitter and receiver units [51–53]. The energy consumption of node “g” transmits “r” bits of data to node “h” with respect to distance b(g,h). The calculation is given in Eq. (1).

Figure 2: Energy model of LOA-RPL
The threshold value B0 is calculated using Eq. (2).
The amount of energy required for receiving r bits of data from a participant node and its calculation is given in Eq. (3).
This study proposes LOA-RPL to maximize network lifetime in IoT. LOA-RPL has three steps: virtual cluster formation, CH selection, and route establishment. The Euclidean distance is applied to form clusters in the network. LOA is adopted to select the CH node in the cluster. Route establishment is performed using RER. A participant will forward network data to the root node in DODAG.
Nodes are distributed randomly in the network, and each node has its own coordinates (
The distance “b” between one node and all the other nodes is calculated using the Euclidean distance, and its calculation is given in Eq. (5).
In calculating the cluster center, the distance
The cluster formation process in LOA-RPL is provided in Algorithm 1.

LOA-RPL uses LOA to select the optimal CH node in the cluster. This algorithm consists of two phases: initialization and hunting [54].
LOA is a metaheuristic algorithm. Each node in the network is called a lion, and it can be represented as Lion = [
RER: RER shows the residual energy in a network's RPL nodes [55]. Its calculation is given in Eq. (7).
Node Degree: The ratio in a particular node
Fitness Function: The fitness function of each node
The lions form a group called pride, and each pride contains a set of female, male, and cubs. Female lions from every pride hunt prey to provide food for their pride. In general, lions follow a hunting policy. A hunting policy consists of different groups: the left, right, and center wings. Fig. 3 depicts the general behavior of hunting lions.

Figure 3: General behavior of hunting lions
In a hunting group, the group with the highest cumulative fitness value acts as the center wing and the remaining groups act as the left and right wings. Assume that the prey is considered the center of a hunting group. The prey calculation process is given in Eq. (10).
During the hunting process, hunters are chosen randomly from the cluster and the selected hunters attack the prey. Simultaneously, the prey tries to move to another location to escape the hunters. It obtains a new position, and the calculation is given in Eq. (11).
where
During the hunting process, the prey is encircled by the left and ring wings. The calculation is given in Eq. (12).
Similarly, the prey is encircled by the center wing hunters. The calculation is given in Eq. (13).
Eqs. (12) and (13) compute the random number between the lower and upper bounds as “a” and “b”, respectively. Fig. 4 depicts encircling the center and wing lions.

Figure 4: Encircling the center and wing lions
All the hunters try to attack the prey. If the hunter reaches the prey's position, the prey node acts as the CH node for a particular round. Otherwise, the prey will escape from the hunter. Similarly, the CH node is selected on a rotational basis until node energy expires in the network. The process of selecting the CH is described in Algorithm 2.

The routing process in LOA-RPL is established based on IETF's clustering RPL document [56]. The DODAG root initiates the sending of DODAG information object for cluster (DIOC) control messages to its CH node. The parent information is obtained by the participant CH node via the DIOC message. An OF is also used to select the most suitable parent node. Thereafter, the participant node sends the DODAG advertisement object for cluster (DAOC) control messages to the respective parent node. Finally, the DODAG root or parent CH node sends DAOC-acknowledgement messages to individual child nodes in DODAG. The route establishment process of LOA-RPL is illustrated in Fig. 5.
The OF (RER) helps find the optimal parent node in DODAG during data transmission. LOA-RPL explores the routing metric RER to select the best CH parent node in the hierarchical clustering tree. RER displays the amount of energy that is currently available in the parent CH node. The calculation of RER is given in Eq. (14).
4.3.2 Cluster Rank Calculation
Cluster rank calculation is a process that shows the distance between the root of DODAG and the parent CH node. The cluster rank of node “x” is computed from the parent node (clusterRank(x)), and its rank increases. The increase in rank is determined from the

Figure 5: Route establishment process of LOA-RPL
The route establishment process is described in Algorithm 3.

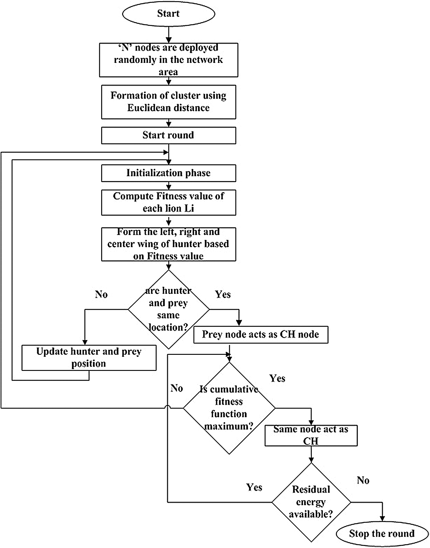
The work flow of LOA-RPL is illustrated in Fig. 6.
The performance of the proposed LOA-RPL is evaluated on the network simulator ns-3 and then compared with those of RPL, FEEC-IIL, and RISA-RPL. In our simulation, we set 200 network nodes across a network area of 200 m

Figure 6: Workflow of LOA-RPL
In this simulation, the performance of LOA-RPL is assessed in terms of network lifetime, power consumption, PDR, and throughput. Moreover, this simulation experiment exhaustively discusses how LOA-RPL is better than RPL, FEEC-IIL, and RISA-RPL. The simulation settings and parameters are provided in Tab. 1.
Table 1: Simulation settings and parameter values

Network lifetime is one of the performance evaluation metrics for LLNs. It indicates the number of rounds during which the nodes stay alive until the first node dies. In this simulation, the total number of nodes is 100 and each node possesses an equal amount of energy (i.e., 1 J). LOA-RPL supports multihop data transmission from one node to the DODAG root.
Fig. 7 depicts network lifetime for a number of simulation rounds. The number of alive nodes in RPL, FEEC-IIR, RISA-RPL, and LOA-RPL is 0, 10, 15, and 30, respectively for a network round of 1750. Furthermore, all the nodes are dead at a network round of 2000. RPL examines the hop count to select the best parent for the forwarded data. However, it follows a multihop data forwarding scheme for transmitting data. Therefore, the energy of the nodes in the network is depleted. RISA-RPL uses the default RPL routing mechanism with the shuffled frog-leaping algorithm in CH selection. Notably, LOA-RPL extends network lifetime compared with those of RPL, FEEC-IIR, and RISA-RPL primarily due to the consideration of LOA in CH selection. Moreover, LOA-RPL effectively rotates CH selection among nodes in a cluster.

Figure 7: Network lifetime vs. various routing protocols
Tab. 2 provides the network lifetime for different network rounds. Initially, all the nodes have equal energy and all the nodes are alive. A number of nodes die as the number of rounds increases in the network.
Table 2: Simulation network lifetime vs. routing protocols

Average power consumption indicates the amount of energy required by all the network nodes to perform various operations, such as transmit, receive, and aggregate operations from one node to another.
Fig. 8 depicts the average power consumption with respect to different routing protocols. In our simulation, power consumption in RPL, FEEC-IIR, RISA-RPL, and LOA-RPL is 2.8, 2, 1.8, and 1.5 J, respectively. LOA-RPL utilizes considerably less power compared with those of other protocols, such as RPL, FEEC-RPL, and RISA-RPL. Such improvement is accomplished due to the formation of clusters using the Euclidean distance. Moreover, LOA-RPL uses LOA for CH selection in a cluster. Thus, LOA-RPL prolongs the life span of a network by 20%–50% compared with RPL.
Tab. 3 provides the average power consumption for the number of rounds. As the average power consumption increases, the number of round also increases.
PDR indicates the ratio between the number of data packet successfully sent by the participant and the number of data packets collected by the DODAG root. Fig. 9 depicts PDR by adjusting network size. The PDRs in RPL, FEEC-IIR, RISA-RPL, and LOA-RPL are 78, 96, 97, and 98, respectively, for a network size of 100. PDR increases by varying network nodes. Simultaneously, the default RPL decreases PDR as network size increases. The reason for this finding is as follows: FEEC-IIR, RISA-RPL, and LOA-RPL are clustering protocols, but RPL follows the multihop data transmission mechanism. In clustering, the data of several nodes are aggregated and forwarded to the DODAG root. Thus, packet losses are diminished during data transmission.

Figure 8: Power consumption vs. number of nodes
Table 3: Average power consumption vs. number of rounds

Tab. 4 presents PDR with respect to number of nodes. PDR increases as the number of network nodes increases.
Throughput denotes the number of data packets being transmitted over a specified time. Fig. 10 depicts throughput with respect to simulation rounds. The throughput in RPL, FEEC-RPL, RISA-RPL, and LOA-RPL is 2.2, 2.5, 2.8, and 3 Mbps, respectively, for a simulation round of 2000The throughput values increase as the simulation round increases. This achievement is attributed to the avoidance of packet losses during data transmission. Throughput is clearly high in the clustering protocol compared with that in the multihop data transmission protocol. In particular, LOA-RPL adopts the LOA algorithm to select the optimal node at the right time to act as the CH node, which collects data from CMs. Thus, LOA-RPL increases throughput and overall network performance.

Figure 9: PDR vs. number of nodes
Table 4: Number of nodes vs. PDR


Figure 10: Throughput vs. simulation time
Tab. 5 provides the throughput for different network rounds. LOA-RPL definitely increases throughput when a network round of 500 is reached. It continues increasing throughput until a network round of 2000 is reached.
Table 5: Throughput vs. number of rounds

Energy conservation is a major challenge in IoT because IoT consists of highly resource-intensive nodes. Thus, the current study proposes LOA for selecting CH in RPL. LOA-RPL is implemented on cluster formation, CH selection, and route establishment operations. A cluster is formed using the Euclidean distance. CH selection is performed using LOA. Thus, this algorithm selects the optimal CH, rotates the nodes uniformly, and gradually depletes energy in the cluster nodes. Route establishment is performed using RER. Simulation is conducted on ns-3. The ultimate objective of LOA-RPL is to find the optimal CH in a cluster. The simulation result confirms that LOA-RPL outperforms RPL and RISA-RPL. LOA-RPL increases network lifetime and PDR by 10% and 5%–10% compared with RPL and FEEC-IIR, respectively. Furthermore, LOA-RPL reduces power consumption by 5%–10%.
We plan to extend our work in the future by considering a security aspect that defends against all types of attacks, such as wormhole, denial-of-service, and black hole attacks, to protect unauthorized access from the outside world. Furthermore, we intend to deploy nodes randomly in a network and analyze the performance of LOA-RPL in a real-time test bed implementation.
Funding Statement: This research was supported by X-mind Corps program of National Research Foundation of Korea (NRF) funded by the Ministry of Science, ICT (No. 2019H1D8A1105622) and the Soonchunhyang University Research Fund.
Conflicts of Interest: The authors declare that they have no conflicts of interest to report regarding the present study.
1. M. Noura, M. Atiquzzaman and M. Gaedke, “Interoperability in internet of things: Taxonomies and open challenges,” Mobile Networks and Applications, vol. 24, no. 3, pp. 796–809, 2019. [Google Scholar]
2. S. Sankar, P. Srinivasan, A. K. Luhach, R. Somula and N. Chilamkurti, “Energy-aware grid-based data aggregation scheme in routing protocol for agricultural internet of things,” Sustainable Computing: Informatics and Systems, vol. 28, no. 1, pp. 100422, 2020. [Google Scholar]
3. S. Sennan, R. Somula, A. K. Luhach, G. G. Deverajan, W. Alnumay et al., “Energy efficient optimal parent selection based routing protocol for internet of things using firefly optimization algorithm,” Transactions on Emerging Telecommunications Technologies, pp. e4171, 2020. [Google Scholar]
4. S. Sennan, S. Ramasubbareddy, A. K. Luhach, A. Nayyar and B. Qureshi, “CT-Rpl: Cluster tree based routing protocol to maximize the lifetime of internet of things,” Sensors, vol. 20, no. 20, pp. 5858, 2020. [Google Scholar]
5. S. Sankar and P. Srinivasan, “Enhancing the mobility support in internet of things,” International Journal of Fuzzy System Applications (IJFSA), vol. 9, no. 4, pp. 1–20, 2020. [Google Scholar]
6. S. Sankar, P. Srinivasan, S. Ramasubbareddy and B. Balamurugan, “Energy-aware multipath routing protocol for internet of things using network coding techniques,” International Journal of Grid and Utility Computing, vol. 11, no. 6, pp. 838–846, 2020. [Google Scholar]
7. S. Sennan, S. Balasubramaniyam, A. K. Luhach, S. Ramasubbareddy, N. Chilamkurti et al. “Energy and delay aware data aggregation in routing protocol for internet of things,” Sensors, vol. 19, no. 24, pp. 5486, 2019. [Google Scholar]
8. A. Nayyar and R. Singh,“Ieemarp-a novel energy efficient multipath routing protocol based on ant colony optimization (ACO) for dynamic sensor networks,” Multimedia Tools and Applications, vol. 79, no. 1, pp. 1–32, 2019. [Google Scholar]
9. A. Nayyar and R. Singh, “Simulation and performance comparison of ant colony optimization (ACO) routing protocol with AODV, DSDV, DSR routing protocols of wireless sensor networks using NS-2 simulator,” American Journal of Intelligent Systems, vol. 7, no. 1, pp. 19–30, 2017. [Google Scholar]
10. A. Nayyar and R. Singh, “Performance analysis of ACO based routing protocols-eMCBR, antchain, IACR, ACO-eAMRA for wireless sensor networks (WSNs),” Journal of Advances in Mathematics and Computer Science, vol. 20, no. 6, pp. 1–18, 2017. [Google Scholar]
11. A. Nayyar and R. Singh, “Ant colony optimization (ACO) based routing protocols for wireless sensor networks (WSNA survey,” International Journal of Advanced Computer Science and Applications, vol. 8, no. 2, pp. 148–155, 2017. [Google Scholar]
12. M. Kaur, M. Rani and A. Nayyar, “A novel defense mechanism via genetic algorithm for counterfeiting and combating jelly fish attack in mobile ad-hoc networks,” in 2014 5th Int. Conf.-Confluence the Next Generation Information Technology Summit (ConfluenceNoida, India, IEEE, pp. 359–364, 2014. [Google Scholar]
13. P. Asghari, A. M. Rahmani and H. H. S. Javadi, “Internet of things applications: A systematic review,” Computer Networks, vol. 148, no. 1, pp. 241–261, 2019. [Google Scholar]
14. Q. M. Salih, M. A. Rahman, F. Al-Turjman and Z. R. M. Azmi, “Smart routing management framework exploiting dynamic data resources of cross-layer design and machine learning approaches for mobile cognitive radio networks: A survey,” IEEE Access, vol. 8, no. 1, pp. 67835–67867, 2020. [Google Scholar]
15. B. D. Deebak and F. Al-Turjman, “A hybrid secure routing and monitoring mechanism in IoT-based wireless sensor networks,” Ad Hoc Networks, vol. 97, no. 1, pp. 102022, 2020. [Google Scholar]
16. F. Al-Turjman, “Cognitive routing protocol for disaster-inspired internet of things,” Elsevier Future Generation Computer Systems, vol. 92, no. 1, pp. 1103–1115, 2019. [Google Scholar]
17. M. Z. Hasan, F. Al-Turjman and H. Al-Rizzo, “Analysis of cross-layer design of quality-of-service forward geographic wireless sensor network routing strategies in green internet of things,” IEEE Access, vol. 6, no. 1, pp. 20371–20389, 2018. [Google Scholar]
18. J. V. Sobral, J. J. Rodrigues, R. A. Rabelo, J. Al-Muhtadi and V. Korotaev, “Routing protocols for Low power and lossy networks in internet of things applications,” Sensors, vol. 19, no. 9, pp. 2144, 2019. [Google Scholar]
19. A. J. Gonçalves, R. A. Rabelo, J. J. Rodrigues and L. M. Oliveira, “A mobility solution for low power and lossy networks using the LOADng protocol,” Transactions on Emerging Telecommunications Technologies, vol. 31, no. 12, pp. 1–24, 2020. [Google Scholar]
20. A. Mahmoud, M. Mahyoub, T.Sheltami and M. Abu-Amara, “Traffic-aware auto-configuration protocol for service oriented low-power and lossy networks in IoT,” Wireless Networks, vol. 25, no. 7, pp. 4231–4246, 2019. [Google Scholar]
21. S. A. Abdel Hakeem, A. A. Hady and H. Kim, “RPL routing protocol performance in smart grid applications based wireless sensors: Experimental and simulated analysis,” Electronics, vol. 8, no. 2, pp. 186, 2019. [Google Scholar]
22. Z. A. Almusaylim, A. Alhumam and N. Z. Jhanjhi, “Proposing a secure RPL based internet of things routing protocol: A review,” Ad Hoc Networks, vol. 101, no. 1, pp. 102096, 2020. [Google Scholar]
23. M. Bouaziz, A.Rachedi and A. Belghith, “EKF-Mrpl: Advanced mobility support routing protocol for internet of mobile things: Movement prediction approach,” Future Generation Computer Systems, vol. 93, no. 1, pp. 822–832, 2019. [Google Scholar]
24. O. Iova, F. Theoleyre and F. Noel, “Using multiparent routing in RPL to increase the stability and the life time of the network,” Ad Hoc Networks, vol. 29, no. 1, pp. 45–62, 2015. [Google Scholar]
25. D. S. De Couto, D. Aguayo, J. Bicket and R. Mor-ris, “A high-throughput path metric for multi-hop wireless routing,” in Proc. of the 9th Annual Int. Conf. on Mobile Computing and Networking, San Diego, CA, USA, pp. 134–146, 2003. [Google Scholar]
26. M. Nassiri, M. Boujari and S. V. Azhari, “Energy-aware and load-balanced parent selection in RPL routing for wireless sensor networks,” International Journal of Wireless and Mobile Computing, vol. 9, no. 3, pp. 231–239, 2015. [Google Scholar]
27. A. Hassan, S. Alshomrani, A. Altalhi and S. Ahsan, “Improved routing metrics for energy constrained interconnected devices in low-power and lossy networks,” Journal of Communications and Networks, vol. 18, no. 3, pp. 327–332, 2016. [Google Scholar]
28. C. Abreu, M. Ricardo and P. M. Mendes, “Energy-aware routing for biomedical wireless sensor networks,” Journal of Network and Computer Applications, vol. 40, no. 1, pp. 270–278, 2014. [Google Scholar]
29. S. Sankar and P. Srinivasan, “Composite metric based energy efficient routing protocol for internet of things,” International Journal of Intelligent Engineering and Systems, vol. 10, no. 5, pp. 278–286, 2017. [Google Scholar]
30. O. Gaddour, A. Koubâa and M. Abid, “Quality-of-service aware routing for static and mobile IPv6-based low-power and lossy sensor networks using RPL,” Ad Hoc Networks, vol. 33, no. 1, pp. 233–256, 2015. [Google Scholar]
31. H. Lamaazi and N. Benamar, “OF-Ec: A novel energy consumption aware objective functions for RPL based on fuzzy logic,” Journal of Network and Computer Applications, vol. 117, no. 1, pp. 42–58, 2018. [Google Scholar]
32. B. Pavkovic, A. Duda, W. J. Hwang and F. Theo-leyre, “Efficient topology construction for RPL over IEEE 802.15. 4 in wireless sensor networks,” Ad Hoc Networks, vol. 15, no. 1, pp. 25–38, 2014. [Google Scholar]
33. W. Zhang, L. Li, G. Han and L. Zhang, “E2HRC: An energy-efficient heterogeneous ring clustering routing protocol for wireless sensor networks,” IEEE Access, vol. 5, no. 1, pp. 1702–1713, 2017. [Google Scholar]
34. W. Zhang, G. Han, Y. Feng and J. Lloret, “IRPL: An energy efficient routing protocol for wireless sensor networks,” Journal of Systems Architecture, vol. 75, no. 1, pp. 35–49, 2017. [Google Scholar]
35. S. N. Mishra and S. Chinara, “Ca-rpl: A clustered additive approach in rpl for iot based scalable networks,” in Int. Conf. on Ubiquitous Communications and Network Computing, Bangalore, India, Springer, pp. 103–114, 2019. [Google Scholar]
36. A. A. Heidari, S. Mirjalili, H. Faris, I. Aljarah, M. Mafarja et al. “Harris hawks optimization: Algorithm and applications,” Future Generation Computer Systems, vol. 97, no. 1, pp. 849–872, 2019. [Google Scholar]
37. W. Deng, J. Xu and H. Zhao, “An improved ant colony optimization algorithm based on hybrid strategies for scheduling problem,” IEEE Access, vol. 7, pp. 20281–20292, 2019. [Google Scholar]
38. S. Arora and S. Singh, “Butterfly optimization algorithm: A novel approach for global optimization,” Soft Computing, vol. 23, no. 3, pp. 715–734, 2019. [Google Scholar]
39. M. A. Elaziz and S. Mirjalili, “A hyper-heuristic for improving the initial population of whale optimization algorithm,” Knowledge-Based Systems, vol. 172, no. 1, pp. 42–63, 2019. [Google Scholar]
40. F. Safara, A. Souri, T. Baker, I. AI Ridhawi and M. Aloqaily, “PriNergy: A priority-based energy-efficient routing method for IoT systems,” Journal of Supercomputing, vol. 76, no. 1, pp. 1–18, 2020. [Google Scholar]
41. M. Conti, P. Kaliyar and C. Lal, “Reliable group communication protocol for internet of things,” arXiv preprint arXiv:1904.04542, 2019. [Google Scholar]
42. M. Bouaziz, A. Rachedi, A. Belghith, M. Berbineau and S. Al-Ahmadi, “EMA-Rpl: Energy and mobility aware routing for the internet of mobile things,” Future Generation Computer Systems, vol. 97, no. 1, pp. 247–258, 2019. [Google Scholar]
43. H. Bouzebiba and M. Lehsaini, “Freebw-rPL: A new RPL protocol objective function for internet of multimedia things,” Wireless Personal Communications, vol. 112, no. 1, pp. 1–21, 2020. [Google Scholar]
44. A. Sebastian and S. Sivagurunathan, “Load balancing metric based routing protocol for low power and lossy networks (lbRPL),” International Journal of Engineering and Technology(UAEvol. 7, pp. 39–44, 2018. [Google Scholar]
45. M. Zhao, P. H. J. Chong and H. C. Chan, “An energy-efficient and cluster-parent based RPL with power-level refinement for low-power and lossy networks,” Computer Communications, vol. 104, no. 1, pp. 17–33, 2017. [Google Scholar]
46. K. Vijayalakshmi and P. Anandan, “A multi objective tabu particle swarm optimization for effective cluster head selection in WSN,” Cluster Computing, vol. 22, no. 5, pp. 12275–12282, 2019. [Google Scholar]
47. B. Rambabu, A. V. Reddy and S. Janakiraman, “Hybrid artificial bee colony and monarchy butterfly optimization algorithm (HABC-mBOA)-based cluster head selection for WSNs,” Journal of King Saud University-Computer and Information Sciences, 2019. [Google Scholar]
48. P. H. Kulkarni and P. Malathi, “PFuzzy-ACO: Fuzzy-based optimization approach for energy-aware cluster head selection in WSN,” Journal of Internet Technology, vol. 20, no. 6, pp. 1787–1800, 2019. [Google Scholar]
49. J. John and P. Rodrigues, “MOTCO: Multi-objective taylor crow optimization algorithm for cluster head selection in energy aware wireless sensor network,” Mobile Networks and Applications, vol. 24, no. 5, pp. 1509–1525, 2019. [Google Scholar]
50. B. Pitchaimanickam and G. Murugaboopathi, “A hybrid firefly algorithm with particle swarm optimization for energy efficient optimal cluster head selection in wireless sensor networks,” Neural Computing and Applications, pp. 1–15, 2019. [Google Scholar]
51. W. Heinzelman, A. Chandrakasan and H. Balakrishnan, “An application-specific protocol architecture for wireless micro sensor networks,” IEEE Transactions on Wireless Communications, vol. 1, no. 4, pp. 660–670, 2005. [Google Scholar]
52. R. S. Elhabyan and M. C. Yagoub, “Two-tier particle swarm optimization protocol for clustering and routing in wireless sensor network,” Journal of Network and Computer Applications, vol. 52, no. 1, pp. 116–128, 2015. [Google Scholar]
53. A. A. Bara'a and E. A. Khalil, “A new evolutionary based routing protocol for clustered heterogeneous wireless sensor networks,” Applied Soft Computing, vol. 12, no. 7, pp. 1950–1957, 2012. [Google Scholar]
54. M. Yazdani and F. Jolai, “Lion optimization algorithm (LOAA nature-inspired metaheuristic algorithm,” Journal of Computational Design and Engineering”, vol. 3, no. 1, pp. 24–36, 2016. [Google Scholar]
55. S. Sankar and P. Srinivasan, “Fuzzy logic based energy aware routing protocol for internet of things,” International Journal of Intelligent Systems and Applications, vol. 10, no. 10, pp. 11, 2018. [Google Scholar]
56. C. Xu, Z. Xiong, G. Zhao and S. Yu, “An energy-efficient region source routing protocol for lifetime maximization in WSN,” IEEE Access, vol. 7, no. 1, pp. 135277–135289, 2019. [Google Scholar]
57. O. Gaddour and A. Koubâa, “RPL in a nutshell: A survey,” Computer Networks, vol. 56, no. 14, pp. 3163–3178, 2012. [Google Scholar]
![]() | This work is licensed under a Creative Commons Attribution 4.0 International License, which permits unrestricted use, distribution, and reproduction in any medium, provided the original work is properly cited. |